Hunan Powerdrills Rock Machinery Co., Ltd. Hunan Powerdrills Rock Machinery Co., Ltd.
  • 
  • Accueil
  • Produits+
    • Outils de Forage Rocheux
    • Foreuses
    • Compresseurs d’Air
  • Applications
  • Qui sommes-nous ?
  • Contactez-nous
  • Accueil
  • Produits
  • Outils de Forage Rocheux
  • Autres Pièces

Autres Pièces

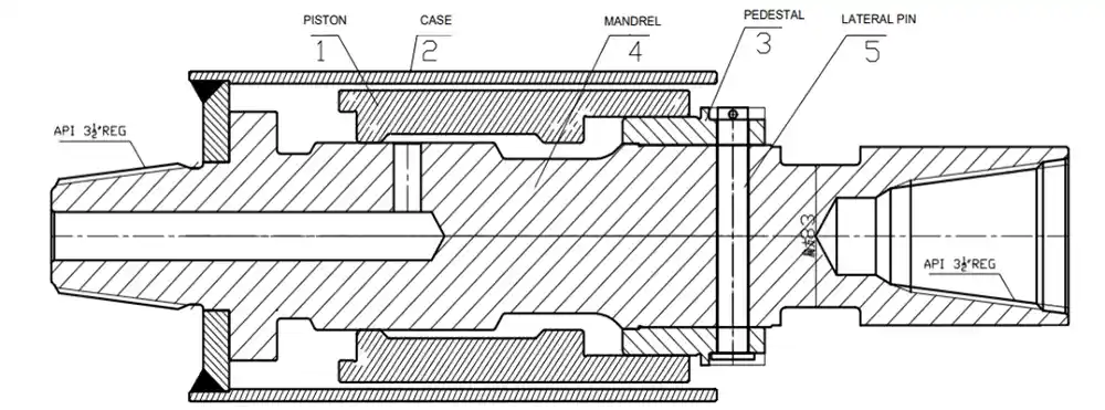
Marteau d’extraction

Marteau d’extraction

Le marteau d'extraction est conçu pour faciliter l’extraction de la colonne de forage. En cas de coincement ou d’effondrement du trou, il permet de réduire considérablement les temps d’arrêt et les coûts d’exploitation, améliorant ainsi l’efficacité globale du forage.

Spécifications techniques
Marteau d’extraction
Modèle
Pression d’air (bar) Filetage de connexion Diamètre (mm) Poids (kg)
6'' marteau d’extraction 8-15 API 3 1/2'' REG 192 71.5
10'' marteau d’extraction 8-15 API 3 1/2'' REG 273 130.5
14'' marteau d’extraction 8-15 API 5 1/2” REG 325 201

Autres spécifications disponibles sur demande.

Banc de dévissage

Banc de dévissage

Banc hydraulique entièrement automatique conçu pour le démontage rapide et efficace des outils de forage. Simple d’utilisation, il convient aux opérations intensives sur chantier.

Spécifications techniques
Banc de dévissage
Modèle Dimensions (L x l x H), mm Capacité du réservoir hydraulique (L) Poids (kg)
3''-6'' banc de dévissage 820 x 850 x 1000 40 400
6''-8'' banc de dévissage 1320 x 920 x 920 70 690
8''-12'' banc de dévissage 1400 x 1140 x 1180 70 820
Amortisseur

Amortisseur

  • Absorbe efficacement les forces d’impact inverses générées par le marteau DTH, protégeant la tête de rotation de la foreuse, notamment en grand diamètre.
  • Disponible en deux conceptions : Type fileté pour forage de puits d’eau, pétrole & gaz, gaz de schiste et géothermie ; Type hexagonal pour les fondations de grand diamètre.
  • Compatible avec foreuses DTH, foreuses de puits d’eau, foreuses de pieux et foreuses rotatives.
Spécifications techniques
Amortisseur
Modèle Course d’amortissement max. (mm) Élément élastique Filetage Dimensions (Ø x L), mm Poids (kg)
6'' amortisseur 25 Rondelle PU API 3 1/2'' REG 182 x 565 100
amortisseur 12'' 75 Ressort à disque API 6 5/8'' REG 273 x 885 300
amortisseur 18'' 125 Ressort à disque Hexagonal 273 278 x 1400 345
Machine d’extraction de tubage

Machine d’extraction de tubage

Équipement compact et léger spécialement conçu pour l’extraction des tubes de tubage. Sa structure étroite permet une utilisation dans des espaces confinés ou à accès limité.

Spécifications techniques
Machine d’extraction de tubage
Modèle Force de levage (kN) Pression (MPa) Alimentation Diamètre extérieur du tubage applicable (mm)
50T 492 20 380 V, 50 Hz Max.178
70T 616 20 380 V, 50 Hz Max.194
100T 1016 20 380 V, 50 Hz Max.219
150T 1256 20 380 V, 50 Hz Max.273
200T 1960 20 380 V, 50 Hz Max.325
Téléchargements
Prêt à démarrer un projet

Prêt à démarrer un projet ?

Contactez nos experts par téléphone ou par e-mail pour trouver la solution de forage la mieux adaptée à vos besoins.

Dites-nous comment nous pouvons vous aider.

  • Outils de Forage Rocheux
      Outils de Forage Fond de Trou – Ø 2" à 20" Outils de Forage Fond de Trou Grand Diamètre - Ø 12" à 28" Outils de Forage pour Marteau Hors Trou Outils de Forage à Circulation Inverse Systèmes du Tubage à l’Avancement Outils de Forage Géotechnique Tiges de Forage Pétrolier & Adaptateurs Autres Pièces
  • Foreuses
  • Compresseurs d’Air

Solutions complètes pour vos projets

Nous proposons une gamme complète d’outils de forage, foreuses et équipements associés pour les projets miniers, travaux de fondations, forage de puits et autres applications industrielles.

Outils de Forage Rocheux
Outils de Forage Rocheux Gamme d’outils de forage rocheux pour mines, forage et construction. Inclut outils fond de trou, marteau supérieur, circulation inverse, systèmes de tubage, tiges et manchons pour équipements adaptés aux conditions exigeantes.
Foreuses
ForeusesForeuses de surface modulaires pour mines, fondations et puits d’eau. Adaptées au DTH, à l’ancrage et aux pieux solaires, disponibles en versions diesel, électrique ou bi-énergie. Contactez-nous.
Compresseurs d’Air
Compresseurs d’AirCompresseurs d’air pour forage, mines et construction. Gamme incluant compresseurs diesel portables, électriques mobiles et compresseurs à vis électriques fixes, assurant une alimentation en air stable et efficace. Contactez-nous.
Dans des environnements complexes et en fonctionnement continu 24h/24 et 7j/7, comment la fiabilité des outils auxiliaires et des systèmes d’alimentation est-elle assurée ?

Tous les systèmes de forage sont associés à des compresseurs d’air haute stabilité, des outils auxiliaires à démontage rapide et des systèmes de lubrification intelligents. Cela améliore considérablement l’efficacité de maintenance et permet un fonctionnement continu sans interruption.

Quelle est la stabilité des systèmes d’alimentation et des compresseurs d’air avec différentes sources d’énergie (diesel/électrique) et dans des environnements difficiles ?

Les compresseurs d’air mobiles et modulaires couvrent des pressions de travail de 8 à 34 bar. Ils sont équipés de systèmes de filtration grande capacité, de purge automatique des condensats et de modules de contrôle thermique, garantissant un fonctionnement stable à long terme dans des environnements variés et exigeants (températures extrêmes, poussière, etc.).

Quels outils auxiliaires supplémentaires permettent d’améliorer la productivité sur chantier lors de projets à forte intensité ?

Une gamme complète d’accessoires est disponible : extracteurs de tubage, bancs de dévissage, mandrins trois mors, adaptateurs de tête de rotation et autres équipements. Tous les outils auxiliaires sont conçus pour une installation et un démontage rapides, améliorant significativement l’efficacité des opérations sur site.

Expert en solutions complètes de forage rocheux

Grâce à de nombreuses années d’expérience internationale, nous proposons des outils de forage, foreuses et compresseurs parfaitement adaptés à vos projets les plus exigeants.

Produits
  • Outils de Forage Rocheux
  • Foreuses
  • Compresseurs d’Air
Applications
  • Mines
  • Forage
  • Exploration géologique
  • Construction de fondations
  • Projets hydrauliques & hydroélectriques
  • Infrastructures de transport
  • Stabilisation des talus & soutènement d’excavation
  • Travaux souterrains & génie civil
Contactez-nous
Berry
drillingtools1968@outlook.com
+86-18773189972
+86-18773189972