
Tiges de Forage Géotechnique
Tiges de forage équipées d’inserts en métal dur et de filetages ronds longs, conçues pour une pénétration rapide, une forte résistance au couple et un avancement sûr du tubage en soutènement, renforcement de sol et stabilisation de talus.
Formulaire de demande
Applications typiques
Fouilles de fondation, renforcement de sol, stabilisation de talus, voûtes parapluie en tunnel et autres travaux d’ancrage.


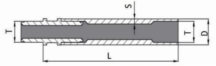
Spécifications techniques

| Longueur (L), mm | Diamètre (D), mm | Épaisseur (S), mm | Filetage (T), mm | Poids, kg | Désignation |
| 2000 | 54 | 8.5 | 42 | 19 | 54 tige interne |
| 2000 | 76 | 10 | 56 | 32 | 76 tige interne |
| 1500 | 89 | 15 | 78 | 41 | 89 tige interne |
| 1500 | 102 | 15 | 90 | 48 | 102 tige interne |
| 1. Configuration standard : filetage à gauche. 2. Connexion standard tige–adaptateur par filetage. Connexion par soudage par friction disponible sur demande. |
|||||
Détails techniques

Les tiges sont équipées de filetages prolongés dédiés, empêchant efficacement la séparation du corps de tige pendant la rotation.
Le profil de filetage rond offre une meilleure répartition des charges, une géométrie optimisée et une résistance accrue au desserrage lors du forage continu.




